Schema zelfbouw transistor radio (Algemeen)

door DirkInductie @, 13-12-2025, 19:19 (77 dagen geleden)
Gewijzigd door DirkInductie, 13-12-2025, 19:52

[image][image]Wie kan helpen aan een schema van de zelfbouwradio op de foto? Deze radio is door mijn vader gebouwd en wil hem graag weer werkend krijgen (emotionele waarde). Een schema heb ik niet. De (-) draad van de 9V(?) voeding is afgebroken. Geen idee waar deze op moet. De (+) loopt via de schakelaar naar de speaker. Er zitten in ieder geval 7 transistoren. Waarvan 2x OC45. Het geluid gaat via 2 trafo's (AD9014 en AD9015) naar de speaker. De (-) aansluiten is als eerste het belangrijkst. Daarna moeten verschillende onderdelen vervangen worden. Waaronder iig een lekkende elco. De (-) durf ik niet lukraak op chassis aan te sluiten. Ik zie namelijk een elco. met de + erop zitten.
Het is waarschijnlijk geen compleet bouwpakket geweest, maar gebouwd met onderdelen die voorhanden waren. Vandaar waarschijnlijk de weerstanden parallel.

Schema zelfbouw transistor radio

door DirkInductie @, 13-12-2025, 19:36 (77 dagen geleden) @ DirkInductie
Gewijzigd door DirkInductie, 13-12-2025, 19:39

[image][image][image]

Schema zelfbouw transistor radio

door Bapaktua ⌂ @, Haarlem noord, 13-12-2025, 20:04 (77 dagen geleden) @ DirkInductie
Gewijzigd door Bapaktua, 13-12-2025, 20:11

Zo te zien is dit een nagebouwde "kajak" van Philips.
Dat ontwerp heb ik zelf óók vroeger nagebouwd. Met OC44/45 en AD9014 en 9015 trafo.
Schema ontwerp staat in een Philips bouw project.
Op het NFOR forum heb ik in 2012 daarover een berichtje geplaatst. Zoek naar "zelfbouw Kajak radio"
ruud

Schema zelfbouw transistor radio

door Maurice ⌂ @, Dordrecht, 13-12-2025, 22:21 (77 dagen geleden) @ DirkInductie

Tja lastig dit soort zelfbouw.
In die jaren zoveel aanbod geweest.

Gezien de + aansluiting, let op in die jaren was gebruikelijk dat de + op
"chassis" zit.
Vandaar ook denk ik de + op luidspreker welke via bruin doorloopt naar trafo.
Deze gedraagt zich dan als de massa.

De - draad moet dan ergens op de voeding deel aangesloten worden.
Zeer goed mogelijk in de buurt van die lekkende dikke elko.

Is dus bij dit soort oude ontwerpen anders om redeneren.

Schema zelfbouw transistor radio

door DirkInductie @, 14-12-2025, 00:15 (77 dagen geleden) @ Maurice

Dank, klopt als een bus, de lekkende elco, daar aangesloten. Verschillende elco's vervangen. Speelt best redelijk. Nog even verder zoeken naar t schema. Elco's hebbben rare waarden: 60u, 80u, 6,4u, 8u, 6,4u, 3,2u en 8u. Waar die vandaan te halen?

Schema zelfbouw transistor radio

door PE9ZZ ⌂ @, Amsterdam-West, 14-12-2025, 07:05 (77 dagen geleden) @ DirkInductie

Elco's hebbben rare waarden: 60u, 80u, 6,4u, 8u, 6,4u, 3,2u en 8u. Waar die vandaan te halen?

Niet. Gewoon waardes gebruiken die in de buurt liggen. Het zal al lastig genoeg zijn om axiale exemplaren te bekomen. En misschien zijn ze geeneens stuk en kan je ze lekker laten zitten. Maar als je toch alles wil vervangen: 2x 100 µF, en de rest 10 µF. Niet moeilijk lopen doen.

Tjerk

Schema zelfbouw transistor radio

door Mans Veldman @, Leidschendam, 14-12-2025, 09:15 (77 dagen geleden) @ DirkInductie
Gewijzigd door Mans Veldman, 14-12-2025, 09:17

Het HF deel zit op een print en lijkt mij geen zelfbouw maar van Duitse origine, de LF trap is zelfbouw op een Amroh bordje. In het Philips boekje "Schakelingen voor Amateurs" staat een vergelijkbaar ontwerp (hele boekje staat online in de NVHR bibliotheek). De LF-trap zal in grote lijnen overeenkomen.

[image][image]

Schema zelfbouw transistor radio

door kris ⌂ @, Gent, België, 14-12-2025, 09:33 (77 dagen geleden) @ Mans Veldman
Gewijzigd door kris, 14-12-2025, 09:37

Het HF deel zit op een print en lijkt mij geen zelfbouw maar van Duitse origine,

daar dacht ik ook meteen aan ; lijkt wel een Görler mf setje voor 455kHz.
(daar kan je het schema van vinden op het net, Radiomuseum bvb)

Schema zelfbouw transistor radio

door Bapaktua ⌂ @, Haarlem noord, 14-12-2025, 10:04 (77 dagen geleden) @ Mans Veldman

"Het HF deel zit op een print en lijkt mij geen zelfbouw maar van Duitse origine, de LF trap is zelfbouw op een Amroh bordje. In het Philips boekje "Schakelingen voor Amateurs" staat een vergelijkbaar ontwerp (hele boekje staat online in de NVHR bibliotheek). De LF-trap zal in grote lijnen overeenkomen."

Dit schema/ontwerp heb ik destijds gebouwd.
Ik had gisteravond geen tijd om de juiste publicatie op te zoeken.
bedankt.
ruud

Schema zelfbouw transistor radio

door Maarten Bakker ⌂ @, Haarlem/Delft, 14-12-2025, 14:29 (77 dagen geleden) @ DirkInductie

Dank, klopt als een bus, de lekkende elco, daar aangesloten. Verschillende elco's vervangen. Speelt best redelijk. Nog even verder zoeken naar t schema. Elco's hebbben rare waarden: 60u, 80u, 6,4u, 8u, 6,4u, 3,2u en 8u. Waar die vandaan te halen?

In standaardwaarden: 68u, 82u, 6u8, 10u, 6u8, 4u7 en 8u2.
In de praktijk: 100u, 100u, 10u, 10u, 10u, 4u7, 10u.

En zoals Tjerk hierboven schrijft: die 4u7 mag vast ook wel 10u zijn.

Schema zelfbouw transistor radio

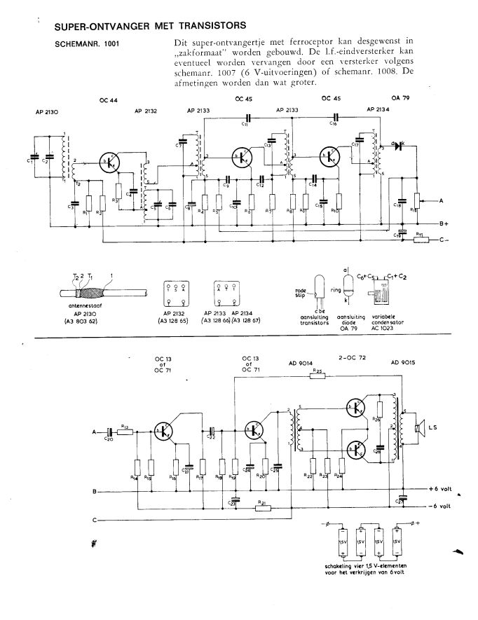
door DirkInductie @, 16-12-2025, 13:00 (75 dagen geleden) @ Bapaktua

Dank. Intussen had ik, dankzij de tips, ook het schema gevonden. Blijkt nu dat de voeding geen 9V maar 6V moet zijn. Misschien kon toen de batterij connector ook op zo'n houder voor 4x1,5V. Even aanpassen nog en de componenten nazien. Iedereen bedankt!

powered by my little forum